
对电池生产者的欧盟合规要求有哪些?
欧盟电池法规通过要求电池生产者承担回收、循环利用及最终处置责任,以提升电池法的可持续性与安全性。
若根据欧盟电池法规您被认定为电池或含电池产品的生产者,则须履行生产者责任延伸(EPR)要求:在您被视为生产者的每个欧盟国家完成注册,并向TikTok Shop商家中心提交注册编号。
什么情况会被视为电池“生产者”?
电池“生产者”指符合以下至少一项条件的制造商、进口商、分销商或其他实体:
- 在欧盟成员国设立并以其名称或商标转售电池或含电池产品;
- 在欧盟成员国设立并转售无制造商名称或商标的电池或产品;
- 首次在欧盟成员国供应电池或含电池产品(无论来自其他成员国或第三国);
- 通过远程销售方式向终端用户销售电池或含电池产品,即使在销售国未设立实体。
请注意:在欧盟成员国“设立”指在该成员国注册的法人实体,或该实体在该欧盟成员国至少设有一个具有永久地址的分支机构。
哪些产品会被视为“电池”?
根据欧盟电池法规,“电池”指通过直接化学转化产生电能的装置,包括内置或外置储能的电池、含一个或多个不可充电或可充电电芯的电池,以及准备再利用、改用途或再制造的电池。
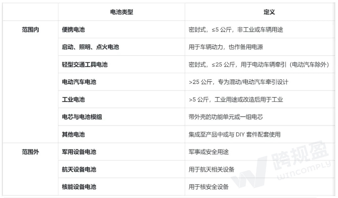
下表列出了需按生产者责任延伸(EPR)要求注册的电池类型,但请注意各地电池合规要求可能因欧盟国家而异。
-3ebe3d6e7662496382bdc04cc83f2b9b.jpg)
电池法上传步骤
1.您可通过商家中心的电池资质中心工具提交注册编号。
2. 访问路径:我的账号 >> 资质中心 >> 生产者责任延伸。
3. 提交EPR注册编号后,信息将显示为“已提交”状态,直至通过平台验证。因政府部门通常每周更新EPR注册信息,平台至少需要5个工作日或更长时间才能核验您提交的EPR。
请注意:EPR注册的法人实体必须与平台登记的法人实体(公司名称)完全一致才可通过验证。
生产商还须提供电池成本信息,此部分费用由生产商自行承担。此字段会在您添加EPR电池注册号并表明自己生产商身份时显示。

若EPR注册编号被驳回该如何处理?
请通过商家中心的“编辑”按钮直接修改EPR注册编号。

请务必确保EPR注册的法人实体与TikTok Shop平台登记的法人实体(公司名称)完全一致。
代扣服务是否适用于电池或电池驱动产品?
TikTok Shop将在法国、西班牙、意大利市场开通电池或电池驱动产品的EPR代付服务。
若您在这些市场销售此类产品且未提交有效的EPR编号,您的电池或电池驱动类产品将自动纳入代付服务范围。
请注意,德国不进行代扣服务,若您被认定为德国市场的生产者,必须对您制造、进口或分销的每个电池品牌进行注册,并提交所有对应的注册编号。
在TikTok Shop平台销售电池或电池驱动的产品时还需要遵守哪些要求?
除EPR要求外,商家必须申报电池状态,并提供电池或含电池/电池驱动的产品的必填属性信息。
电池及电池驱动产品包括但不限于:手机、平板电脑、家电、笔记本电脑、遥控玩具、石英手表、智能手表、移动电源、电池、无人机、相机、游戏主机。
请通过“商家中心”的属性字段填报电池属性信息。
若商品因缺少电池属性被下架,需为每个商品补填缺失的电池相关属性,再重新提交上架。若商品不含任何电池相关属性,重新提交时需选择“不含电池”选项。
若您有欧洲VAT、欧代、欧盟EPR等合规问题咨询或需求服务,欢迎联系跨规盈~

深圳跨规盈科技有限公司隶属于上市公司维信金科集团,是一家专注于为全球跨境电商卖家提供海外合规服务的专业机构。
公司致力于为客户提供一站式出海合规解决方案,服务涵盖欧洲VAT税务申报、EPR认证、授权代表、全球商标注册、全球专利申请、海外公司注册等多个领域。
目前业务覆盖全球220多个国家和地区,已为超过5万家企业和卖家提供专业、可靠的合规服务支持。
合规出海就选跨规盈!



